Nintendo has applied for a patent to upgrade the Switch dock, but it is unclear if it is for the rumored Switch 2.

Nintendo has a potential fix for the Switch cable arrangement with a patent for a 'swivel block' add-on.

Nintendo has applied for a patent to upgrade the Switch dock, but it is unclear if it is for the rumored Switch 2.

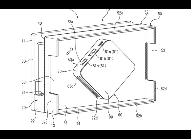
It seems that the highly anticipated Switch 2 may have a solution for the troublesome cable setup that many gamers have complained about. According to a new patent filed by Nintendo, a new attachment called the "swivel block" will make it much easier to connect the console to your TV. While there have been many rumors about the upgrades in power and screen size for the Switch 2, it is expected that the overall design will remain similar to the current model.

This means that the cables from the AC adapter, HDMI, and LAN ports will still come out of the same gap in the back of the dock. Depending on the positioning of your TV's ports, this can be quite inconvenient and frustrating. But fear not, as the new patent dated April 2, 2024 reveals a solution.

The patent describes a rotating input/output panel that will allow for the dock's ports to be positioned on either side of the console. This means that you can easily switch the ports around to match the layout of your TV. The patent also shows that the USB ports, which are currently located on the front of the dock, can also be switched to the opposite side.

This is a major improvement, as even Nintendo acknowledges in the patent that the current setup can be troublesome for users. The description of the patent states that "if a connector for connection to a television receiver or other video display device is fixed to a specific position of the outer circumference of the device holder, there is a possibility that the operation for laying the cables to be connected to this connector will be troublesome." However, it is important to note that not all patents end up being used. If this one does make it to production, it is unlikely that Nintendo will update the current Switch model with these changes.

It is more likely that it will be featured in the next console. Speaking of which, Nintendo has not officially announced anything about the next console. But rumors suggest that it will have an 8-inch LCD screen and be backwards compatible.

This patent also implies that it will be an iterative improvement over the original Switch. Unfortunately, it seems that the successor to the Switch will not be arriving this year. Many sources have claimed that Nintendo has pushed back the launch to 2025 in order to have a strong launch line-up.

This may include a new 3D Mario game or the next installment of Mario Kart. If you're excited about the Switch 2 and want to stay updated on all the latest gaming news, you can sign up for our newsletter or follow us on social media. And don't forget to leave a comment and share your thoughts with us.

We always love to hear from our readers! In other news, it seems that Vladimir Putin is looking to create Russian video game consoles to compete with the PS5 and Xbox. There are also rumors about a potential "enhanced mode" for the PS5 and a leak about the full map for The Sims 5.

And if you're a mobile gamer, be sure to check out our round-up of the best new games for iOS and Android. Thanks for reading and don't forget to sign up for our newsletter for all the latest gaming content and releases before they're seen on the site. See you next time!

2 Views
 0
 0